前言
本标準按照GB/T 1.1 — 2009給出的規則起草。
本标準是對QB/T 1199 —1991《
浮球閥》的修訂。本标準與QB/T 1199 —1991相比,主要變化如下:
——範圍作了修改,擴大了産品公稱尺寸範圍;
——增加了典型結構示意圖;
——對産品的主要零件材料作了規定;
——增加了産品低壓密封性能要求;
——增加了産品最小開啓壓力和關閉壓力。
本标準由中國輕工業聯合會提出。
本标準由全國五金制品标準化技術委員會建築五金分技術委員會(SAC/TC174/SC3)歸口。
本标準起草人:鄭雪珍、金宗民、林嶽華、林補生、蘇宗堯、陳曉丹、曾天生、王朝陽、何烙輝、 方亞平、楊志雄、顔偉國、嚴榮傑、忻成梁、周禮、俞偉、全紅、嚴德勇。
本标準所替代标準的曆次版本發布情況爲:——QB/T 1199—1991。 浮球閥 1、範圍
本标準規定了浮球閥的結構型式、要求、試驗方法、檢驗規則、标志、包裝、運輸和貯存。
本标準适用于工作溫度小于80℃、工作介質爲水的公稱壓力不大于的内、外螺紋連接浮球閥
(公稱尺寸不大于100 mm)和法蘭連接浮球閥(公稱尺寸ZW: >100mm〜300mm)。
注:該閥可用于工業及民用管路上,作爲自動開啓和關閉管路,控制水箱、水池、水塔的液位。
2、規範性引用文件
下列文件對于本文件的應用是必不可少的。凡是注日期的引用文件,僅注日期的版本适用于本文件。
凡是不注日期的引用文件,其最新版本(包括所有的修改單)适用于本文件。
GB/T1176鑄造銅及銅合金
GB/T 2828.1 —2012計數抽樣檢驗程序第1部分:按接收質量限(AQL)檢索的逐批檢驗抽樣計劃
GB/T 3280不鏽鋼冷乳鋼闆和鋼帶
GB/T4240不鏽鋼絲
GB/T 5231加工銅及銅合金牌号和化學成分
GB/T 7306.2 55°密封管螺紋第2部分:圓錐内螺紋與圓錐外螺紋
GB/T 7307 55°非密封管螺紋
GB/T 12225通用閥門銅合金鑄件技術條件
GB/T 15530.1銅合金整體鑄造法蘭
GB/T 20078銅和銅合金鍛件
HG/T 2810往複運動橡膠密封圈材料
3、結構型式
浮球閥的典型結構型式如圖1、圖2、圖3所示。
圖1内螺紋連接浮球閥

1、閥體;
2、導向爪;
3、密封墊;
4、柱塞;
5、彈簧;
6、連接螺母;
7、密封圈;
8、後蓋;
9、小閥體;
10、密封片;
11、小柱塞;
12、杠杆;
13、浮球。
圖2外螺紋連接浮球閥

1、接頭;
2、壓緊螺母;
3、密封墊;
4、閥體;
5、陶瓷閥芯組件;
6、杠杆;
7、浮球。
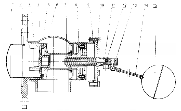
圖3法蘭連接浮球閥

1、過濾網組件;
2、法蘭;
3、閥體;
4、導向爪;
5、密封墊;
6、柱塞;
7、彈簧;
8、活塞片;
9、密封圈;
10、閥蓋;
11、小閥體;
12、密封片;
13、小柱塞;
14、杠杆;
15、浮球。
4、要求
4. 1材料
浮球閥主要零件材料應符合表1規定,在保證産品性能的條件下,可用其他材料代替。
表1零件材料
|
零 件 |
材 料 |
牌 号 |
執行标準編号 |
閥體、閥蓋、活塞片、柱塞、
小柱塞、杠杆、小閥體、法蘭導向爪 |
鉛黃銅 |
ZCuZn40Pb2或HPb59-l |
GB/T 1176
GB/T 5231 |
|
彈簧 |
不鏽鋼 |
12Crl8Ni9 |
GB/T 4240 |
|
密封件 |
丁腈橡膠 |
NBR |
HG/T2810 |
|
浮球、杠杆 |
不鏽鋼 |
06Crl9Nil0 |
GB/T 3280 |
4.2性能
4.2.1殼體強度
将浮球閥密封面封閉,從浮球閥進水端通入規定壓力的水,達到規定的持續時間後,受水壓部分的閥體和缸體工作部位應無滲漏 、變形。詳見表2。
4.2.2密封性能、低壓密封性能
将浮球閥置于開啓狀态,從進水端通入規定壓力的水,使浮球在水的浮力作用下将閥門關閉,達到 規定的持續時間後,從出水口(包括小孔出水口)處目測密封面應無滲漏。詳見表2。
表2閥門的殼體和密封。
|
公稱尺寸£W/mm |
試驗類型 |
試驗水壓/MPa |
最短試驗持續時間/S
|
|
^50 |
殼體強度試驗 |
0.9 土 0.1 |
15 |
|
65〜200 |
60 |
|
>200〜300 |
180 |
|
^200 |
密封性能試驗 |
0.6 土 0.1 |
15 |
|
>200〜300 |
30 |
|
^200 |
低壓密封性能試驗 |
0.04 |
15 |
|
>200〜300 |
30 |
4.2.3浮球密封性能
将浮球閥所配浮球浸入60 °C〜70 °C的水中15 s,浮球外表應無滲漏。
4.2.4最小開啓壓力
浮球閥處于全關閉工作狀态下,開啓小孔密封面,逐漸升高進水口壓力,在柱塞剛剛打開的瞬間, 測得的進水口壓力(即最小開啓壓力)不應超過0.04 MPa。
4.2.5關閉壓力
浮球閥處于全開工作狀态下,關閉小孔密封面,在柱塞剛剛關閉的瞬間,測得的進水口壓力(即關 閉壓力)應爲0.01MPa〜0.6 MPa。
4.2.6浮球浸入水中的體積
在公稱壓力下,浮球閥關閉時,浮球浸入水中的體積不應大于浮球總體積的1/2。
4.3管螺紋
4.3.1 管螺紋尺寸應符合GB/T 7306.2或GB/T 7307中的規定。
4.3.2管螺紋表面粗糙度不應大于6.3 pm。
4.3.3管螺紋表面不應有凹痕、斷牙等明顯缺陷。
4.4法蘭
4.4.1法蘭表面粗糖度及a不應大于3.2 pm。
4.4.2法蘭密封表面不應有氣孔、縮孔等缺陷。
4.4. 3法蘭連接尺寸應符合GB/T 15530.1的規定。
4.5鑄件
銅合金鑄件應符合GB/T 12225的規定。
4.6鍛件
銅合金鍛件應符合GB/T 20078的規定。
4.7零件
4.7.1密封面表面不應有裂痕、氣孔等缺陷,密封面表面粗糙度不應大于3.2 pm。
4.7.2浮球表面不應有明顯的影響使用性能的凹坑。
4.8開啓高度
浮球閥開啓高度不應小于閥門實際通徑的1/4。
4.9裝配
産品裝配應牢固,活動部位應靈活、無卡阻。
5、試驗方法
5.1殼體強度、密封性能、低壓密封性能、浮球密封性能、最小開啓壓力、關閉壓力、浮球浸入水中體積應在相應的壓力試驗台上,用目測法檢查。
5.2管螺紋尺寸用相應精度的管螺紋量規檢查。
5.3管螺紋表面粗糙度、法蘭表面粗糙度、密封面表面粗糙度用粗糙度标準塊對比檢查,有争議時用輪廓儀進行評定。
5.4管螺紋表面質量、法蘭表面質量、零件密封面表面質量、浮球表面質量用目測法檢查。
5.5法蘭連接尺寸用相應精度的量具檢查。
5.6銅合金鑄件按 GB/T 12225規定的方法檢測。
5.7銅合金鍛件按 GB/T 20078規定的方法檢測。
5.8浮球閥開啓高度用遊标卡尺檢測。
5.9裝配采用手感與目測相結合的方法檢測。
6、檢驗規則
6.1檢驗分類
産品檢驗分出廠檢驗和型式檢驗。
6.2組批
由相同的材料、工藝、設備連續制造的同一規格的産品組成一批。
6.3出廠檢驗
6.3.1每批産品經制造廠檢驗合格後方可出廠。
6.3.2出廠檢驗的抽樣按 GB/T 2828.1 — 2012規定的方法進行,采用一般檢查水平I,正常檢驗一次抽
樣方案。
6.3.3出廠檢驗項目、要求、試驗方法、不合格分類及接收質量限AQL見表3。
6.3.4經檢驗所有檢驗項目均合格,則判定該批産品爲合格;凡有1項以上(含1項)不合格,則判定該批産品不合格。
表3出廠檢驗
|
檢驗項目 |
要求 |
試驗方法 |
不合格分類 |
AQL |
|
殼體強度 |
4.2.1 |
5.1 |
A |
1 |
|
密封性能 |
4.2.2 |
5.1 |
|
|
|
低壓密封性能 |
4.2.2 |
5.1 |
|
|
|
浮球密封性能 |
4.2.3 |
5.1 |
|
|
|
管螺紋尺寸 |
4.3.1 |
5.2 |
B |
4 |
|
螺紋表面質量 |
4.3.3 |
5.4 |
C |
6.5 |
|
法蘭表面質量 |
4.4.2 |
5.4 |
|
|
|
法蘭連接尺寸 |
4.4.3 |
5.5 |
|
|
|
浮球表面質量 |
4.7.2 |
5.4 |
|
|
|
裝配 |
4.9 |
5.6 |
B |
4 |
|
标志、包裝 |
7.1、7.2 |
- |
C |
6.5 |
6. 4型式檢驗
6.4.1 有下列情況之一時,應進行型式檢驗:
a) 新産品或老産品轉廠生産的試制定型鑒定;
b) 正式生産後,如結構、材料、工藝有較大改變,可能影響産品性能時;
c) 産品停産6個月後,恢複生産時;
d) 正常生産每12個月至少進行1次;
e) 出廠檢驗結果與上次型式檢驗有較大差異時;
f) 國家質量監督機構提出型式檢驗的要求時。
6.4.2型式檢驗采取從生産廠質量檢驗部門檢查合格的庫存浮球閥中随機抽取的方法或從己供給用戶 但未使用過的産品中随機抽取的方法。每一規格浮球閥供抽樣的最少台數和抽樣台數按表4的規定。到用戶抽樣時,供抽樣的台數不受表4的限制,抽樣台數仍按表4的規定。對整個系列進行質量考核時,抽檢部門根據情況可從該系列中抽取2台〜3台典型規格進行測試,每個規格供抽樣的台數和抽樣台數仍按表4的規定。
表4抽樣台數
|
公稱尺寸 |
供抽樣最少數量/台 |
抽樣數/台 |
|
50 |
30 |
3 |
|
65 〜300 |
20 |
6 .4.3型式檢驗項目爲第4章的所有要求。
6.4.4 每台浮球閥的殼體強度和低壓密封性能應達到4.2.1、4.2.2的規定,如果有一台、項不合格,則判定爲不合格。其他檢驗項目,若被檢産品中有一台、項不合格,可從供抽樣的産品中再抽取3台,若再次檢驗仍不符合,則判定爲不合格。
7、标志、包裝、運輸、貯存
7.1标志
7.1.1産品上應标有如下标志:
a)商标;
b) 公稱尺寸;
c) 公稱壓力。
7. 1.2包裝盒或包裝箱上應标有下列标志:
a) 産品名稱、規格、代号;
b) 産品數量、質量;
c) 産品商标或公司名稱、地址。
d) 産品執行标準編号。
7. 1.3産品合格證上應标有檢驗員印記和出廠日期。
7.2包裝
7.2.1浮球閥在試驗後,包裝前應清除内外油污、殘水、雜物等。
7.2.2包裝應保證産品在正常運輸和保管中不受損傷。
7.3運輸
産品在運輸過程中應輕搬、輕放,不應雨淋、受潮。
7.4貯存
産品應貯存在幹燥的室内,堆放整齊;不應露天存放,以防止損壞和腐蝕。